关于再次公布驻马店市县(区)党政领导、信访局长接访手机号码的通告

    点击量:88692

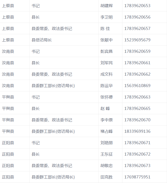
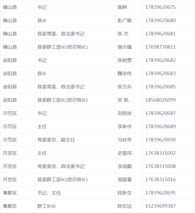
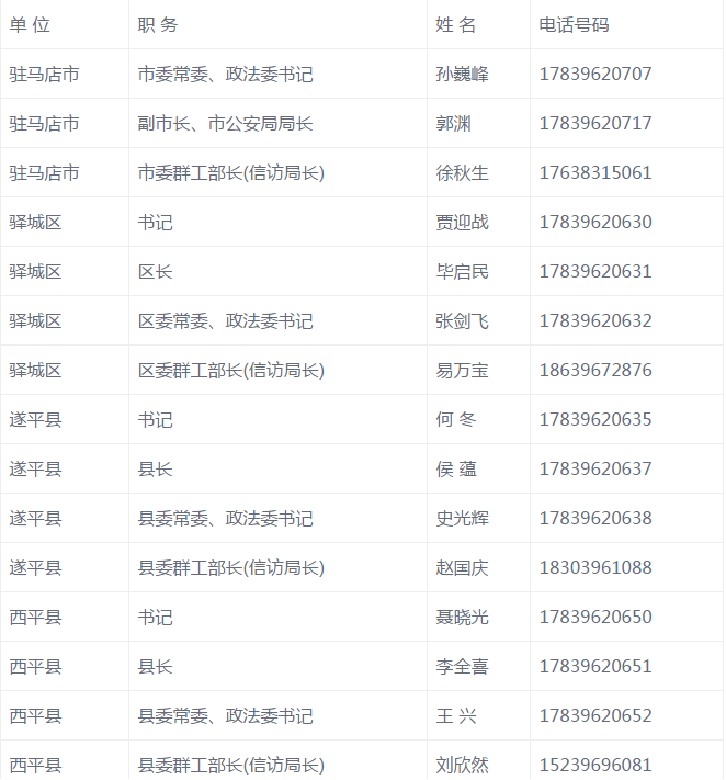
根据省信访局有关要求,为进一步畅通群众信访渠道,解决群众合理合法诉求,现将驻马店市、县(区)党政领导、信访局长接访手机号码公开发布,接访手机只接收短信,不接听电话。请您在工作日工作时间发送短信时写明姓名、联系方式、家庭住址、身份证号码和主要诉求等相关内容。我们一定会按照有关规定认真及时办理。特此通告。

免责声明:凡本网注明“来源:XXX(非驻马店广视网、驻马店融媒、驻马店网络问政、掌上驻马店、驻马店头条、驻马店广播电视台)”的作品,均转载自其它媒体,转载目的在于传递更多信息,并不代表本网赞同其观点和对其真实性负责,作品版权归原作者所有,如有侵犯您的原创版权请告知,我们将尽快删除相关内容。凡是本网原创的作品,拒绝任何不保留版权的转载,如需转载请标注来源并添加本文链接,否则承担相应法律后果。

来源 / 驻马店广视网

责任编辑 / 徐冲冲

审核 / 李俊杰 刘晓明

终审 / 平筠

上一篇:寻人启事

下一篇:驻马店市数字化城市管理案件办理后进单位周通报

精品推荐